Gate.io期权产品详解及使用指南

期权是一种金融合约,买方支付权利金后,获得在未来特定日期以约定价格买入或卖出标的物的权利,而卖方则必须履行相应的义务,期权主要分为看涨期权和看跌期权,分别赋予买方在到期日以固定价格购买或出售标的物的权利,期权还根据行权时间分为欧式期权和美式期权,前者仅在到期日行权,后者则可在到期日前的任意时间行权,常用术语包括标的资产、权利金、到期日、行权价等,期权交易涉及多种策略与决策,买方无需支付保证金但需支付权利金,而卖方则需维持保证金,期权的到期日是其有效性的重要限制,Gate平台提供BTC期权交易,特点包括支持欧式期权、现金结算及自动行权,期权代号简化了交易表达方式,通过市场、到期日、行权价和类型等信息进行标识,帮助用户快速识别和交易。


什么是期权

期权是买卖双方达成的一种合约。

买方向卖方支付一笔金额(即权利金)后,拥有在未来某一特定日期,以事先约定好的价格向卖方购买或出售约定数量的标的物的权力。

期权买方可选择在到期日时是否行权,卖方则承担配合买方的义务。

期权类型

期权可分为两种:看涨期权(Call) 和 看跌期权(Put)

  1. 看涨期权(Call):在到期日购买标的物的权利
  2. 看跌期权(Put):在到期日卖出标的物的权利

根据行权时间的不同,期权可分成两种:欧式期权 和 美式期权

  1. 欧式期权:只可在到期日行权
  2. 美式期权:在到期日之前皆可以行权

常用术语

  1. 标的资产:期权合约中事先约定的货币资产
  2. 权利金:期权买方向卖方支付的费用,以获得期权到期时行权的权力

    买入看涨/看跌期权:权利金 = 订单价格 x ABS(订单数量) x 合约乘数

  3. 到期日:期权合约行使权利的最后日期(对欧式期权而言是唯一可行权日期)
  4. 行权价:期权合约实现约定,在到期日买卖标的资产的特定价格
  5. 期权类型:包括看涨期权 或 看跌期权
  6. 实值期权:指具有内在价值的期权。当看涨期权标的物市场价格高于执行价格 或 看跌期权标的物市场价格低于执行价格,则其具有内在价值,称为实值期权。
  7. 平值期权:指期权的行权价格等于期权标的物市场价格
  8. 虚值期权:指若立即行权,产生的现金流为负的期权。当看涨期权标的物市场价格低于执行价格 或 看跌期权标的物市场价格高于执行价格,称为虚值期权
  9. 期权虚值程度: 虚值程度表示虚值期权偏离标的价的幅度,实值、平值期权的虚值程度为0

    看涨期权:虚值程度 = max(0, 行权价 - 标的价格 )
    看跌期权:虚值程度 = max(0, 标的价格 - 行权价)

期权交易

期权交易中,买卖双方会根据交易方向、期权类型、市场等多种因素,产生不同的决策和收益。


期权跟永续合约的不同?

1.保证金不同

永续合约买卖双方,均需要支付起始保证金并保障账户内有充足的维持保证金以维持仓位。

期权交易中,期权买方(多头)无需支付保证金,但需要向卖方支付权利金,交易成立后,期权买方则拥有期权所赋予之权利,无需对仓位进行维护,可自行选择是否行权。 为保障买方权益,期权的卖方(空头)则需要支付保证金并维持保证金水平,以确保其在期权到期行权时,有充足的资金履行义务。

2.到期日不同

永续合约并没有到期日的概念。

期权只在到期日或之前有效,到期结算后,期权立即失效并从仓位内移除。

3.可交易方向

永续合约支持2个交易方向:买入和卖出

期权交易支持4个交易方向:买入看涨、卖出看涨、买入看跌及卖出看跌

Gate期权产品

Gate目前为用户提供BTC期权交易,特点如下:

  • 支持交易欧式期权(仅在到期日行权)
  • 以现金结算,不涉及标的资产交割
  • 到期自动行权,无需持有者手动确认

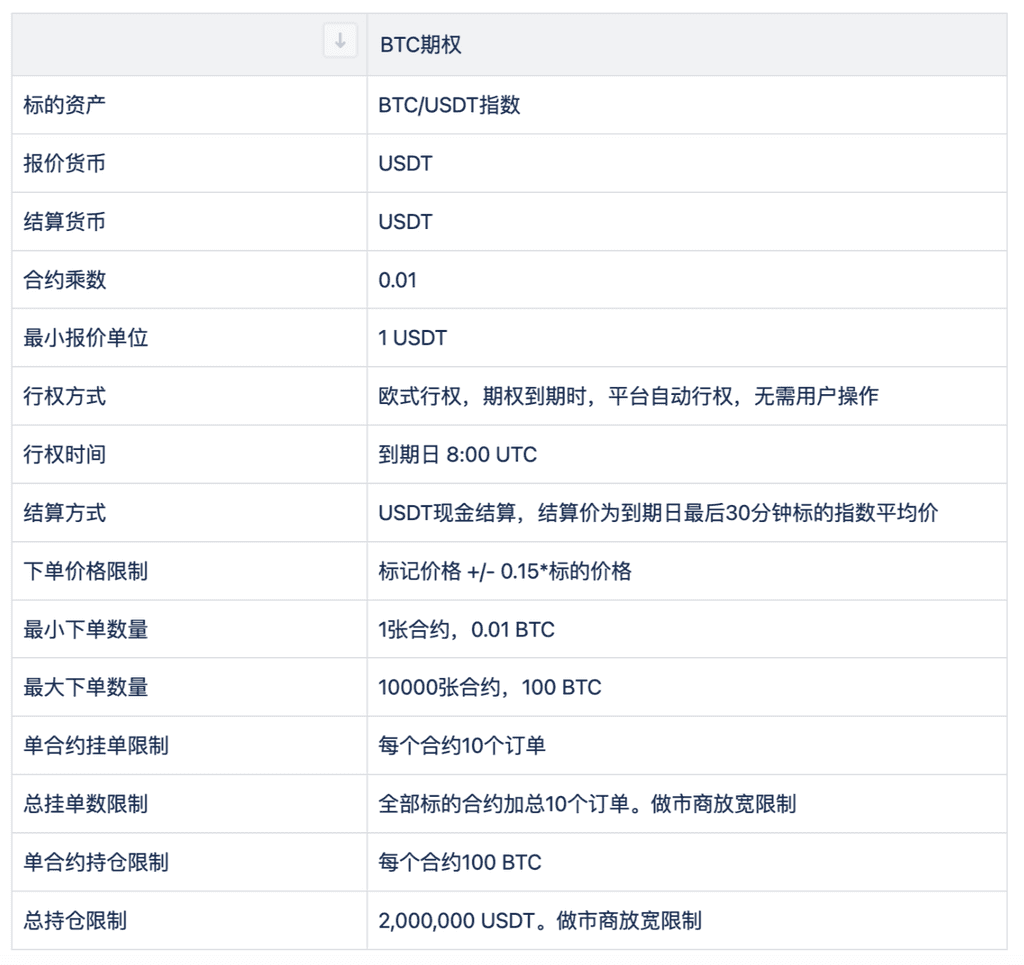
合约规格



期权代号

为简化表达,期权通常以代号形式表述,统一格式为:市场-到期日-行权价-类型

  1. 市场:即对应的币种市场
  2. 到期日:yymmdd;如250627,即20250627
  3. 行权价:期权中提前在约定到期时的执行价格
  4. 类型:C代表看涨期权,P代表看跌期权类型:C代表看涨期权,P代表看跌期权

例如:代号为BTCUSDT-250627-18500-C的期权,表示该BTC期权,到期日为2025/06/27,行权价格为18,500 USDT,类型为看涨期权。

本产品最终解释权归Gate所有。