Gate.io - 如何计算指数价格的详细指南

指数价格是数字货币资产公允价值的体现,旨在降低价格波动和市场操纵风险,作为稳定的参考点,它综合考虑了多个交易所的价格,提供更全面和公正的市场价格,指数价格由现行报价、USDT交易对等值价格和实时权重三大关键变量决定,现行报价为每个交易对的最新市场价格,而USDT交易对等值价格则将其他交易对价格转换为USDT计价,实时权重根据风控规则进行调整,Gate的指数价格通过多个成分交易所的加权平均价格计算,成分权重会实时调整并具备异常情况过滤机制,以BTC_USDT为例,其指数价格来源于Binance、Bybit、Gate、OKX、KuCoin和MEXC六家交易所,计算公式为各成分交易所现货最新价与其权重的乘积之和,最终解释权归Gate所有。


指数价格代表了数字货币资产一定的公允价值,指数价格可以作为更稳定的参考点来降低价格波动和市场操纵带来的风险。它不仅考虑单一资产的最新价格,还将多个交易所的价格纳入考量,提供一个更全面和公正的市场价格。

指数价格由三大关键变量决定:现行报价、USDT交易对等值价格和实时权重。现行报价是当前市场上每个交易对的最新价格,USDT 交易对等值价格是将其他交易对的价格转换为 USDT 计价的价格,而实时权重则根据风控规则实时调整。

Gate的指数价格来源于多个成分交易所按权重分配的加权平均价格。指数价格的来源、权重和历史指数价格可参考合约信息
Gate指数价格的成分权重会根据风控规则实时调整。且指数价格会有异常情况过滤机制进行保护。



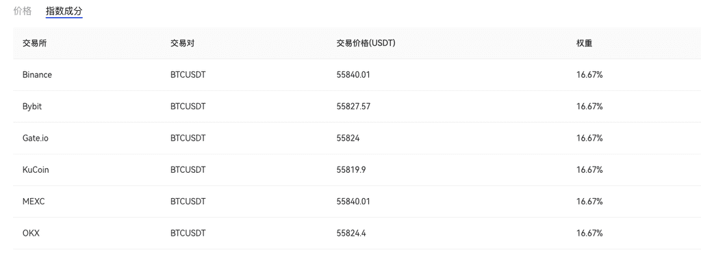
以BTC_USDT为例,该交易对指数价格来源于Binance,Bybit,Gate,OKX、KuCoin和MEXC六家交易所。

指数价格计算公式如下:

指数价格 = A成分交易所交易对现货最新价 × A成分权重 + B成分交易所交易对现货最新价 × B成分权重 + C成分交易所交易对现货最新价 × C成分权重 + ··· + F成分交易所交易对现货最新价 × F成分权重

本产品最终解释权归Gate所有。